In most modern cars of today, you’ll find the advanced driver-assistance system (ADAS) coming as standard. That’s not the case for bikes, but it could be true in the near future. This is because Honda has filed for a patent that’s essentially an ADAS equivalent for bikes.
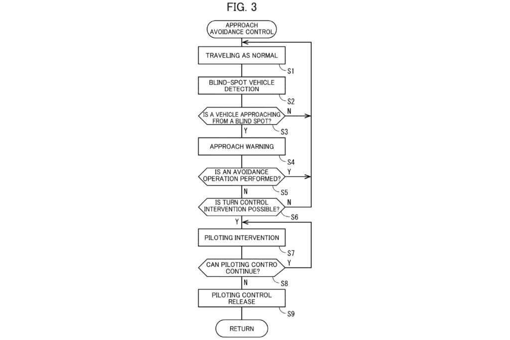
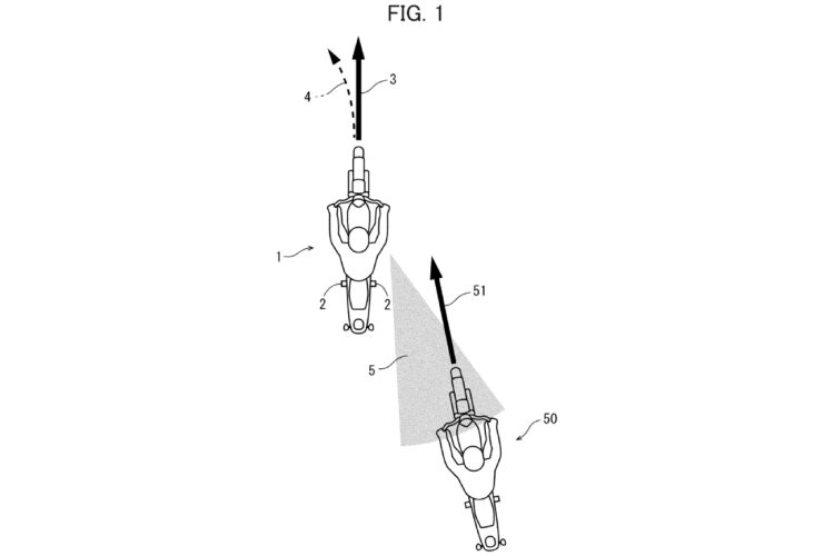
From the patent’s description, the system works in a very familiar way. There’s a camera-based monitoring system that keeps track of blind spots. The Honda patent notes that the system also monitors your braking, throttle and steering. And when it thinks you’re on a collision course, it makes the bike dodge it on its own.

Of course, it doesn’t go straight to the nuclear option if it can help it. The system will first warn the rider via a visual or audio cue. When that fails, it will alter your braking, throttle and steering. The severity of this assistance will increase the longer you ignore the warnings.
Which is all well and good, but I imagine getting resistance from an ADAS on a bike is more than just fighting a steering wheel. On a mode of transportation that involves your whole body, a sudden brake by the system could very well put you off-balance and have both you and your bite eating pavement instead. Honda says in the patent that’s the reason why the rider assistance is done in stages gradually, but your mileage will probably vary on that.

As is the case with patents, there’s no telling when, or indeed if, this tech will make it to a bike you can buy from a dealership. So probably don’t hold your breath for it.
(Source: WIPO)

