A new Samsung patent has surfaced, this time sharing details about a self-healing display and a built-in defence system for foldables’ internal screens. Though it may be conjecture, it could potentially be related to the company’s upcoming tri-fold device.
For years, many foldable phone manufacturers have actually struggled with adding a component as simple as a front-facing camera or fingerprint scanner to the foldable display. Unbeknownst to most, by simply adding these features, you can actually introduce microfractures that can become a hotbed for micro-cracks and water damage.
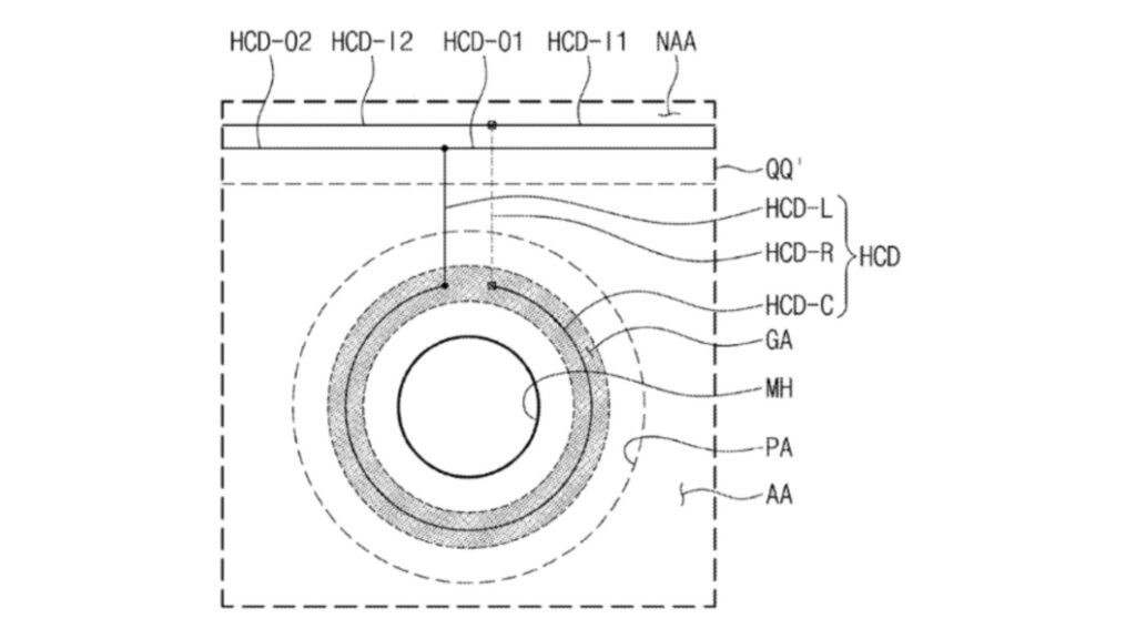
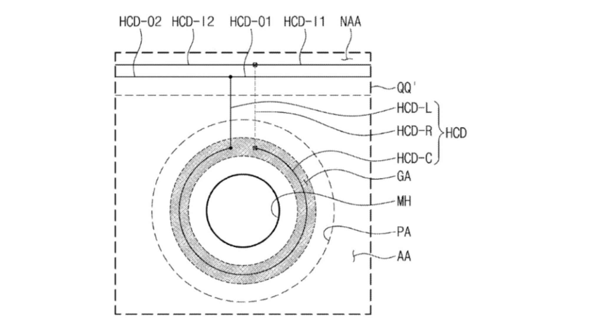
According to the patent, which was spotted by Summarize Meeting, Samsung designed a diagnostic system that features tiny wires right around the display cutouts. These wires are strategically placed across different layers of the screen that will continuously look out for any damage, specifically in the most fragile regions of the phone (again, the camera cutout and in-display sensor).
The moment these wires detect any issue with the screen, they will initiate their own defence protocol. This will then activate “dummy metal patterns” around the affected area, which would strengthen the weak spot to stop micro-cracks from spreading into surrounding portions of the display.

Furthermore, the patent also made mention of specialised grooves and sealants that surround the holes and cutouts. These sealants would then block out things like moisture that would affect delicate internals.
If all of these are true, then Samsung would have made it past a major hurdle that has been tormenting foldable manufacturers for years. However, I’d like to point out a special emphasis on the word “if”. There is no assurance that the tech giant will actually use this patent in a future phone, even though it has been published. Though, only time will tell.
(Sources: Summarize Meeting, Jumpshare [Patent])




