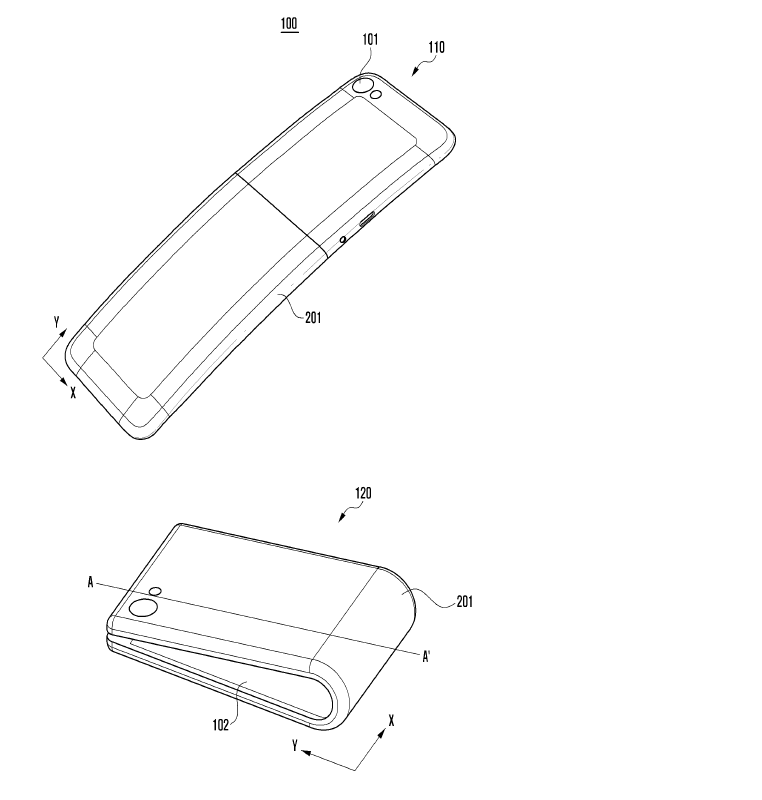
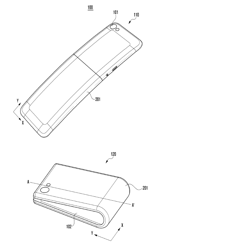
More news about the rumoured the Samsung Galaxy X has surfaced. The foldable smartphone from the Korean company was spotted in a filing with the Korean Intellectual Property Office. The patent provides additional information about Samsung’s supposed folding display device, and offers a glimpse at what the final product may look like.
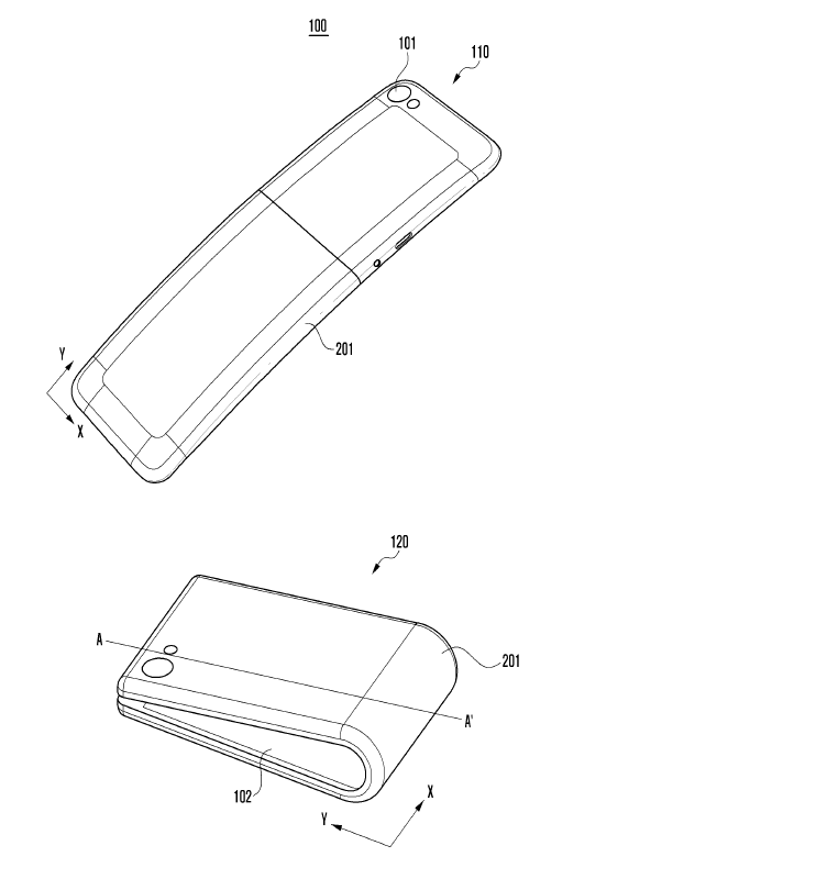
The phone uses the model number SM-G888, and it looks like the Samsung Galaxy Folder 2 that’s been on sale in South Korea. Curiously, the Galaxy X is said to feature two displays; only one of which will be flexible.
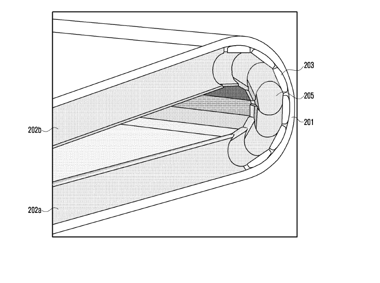
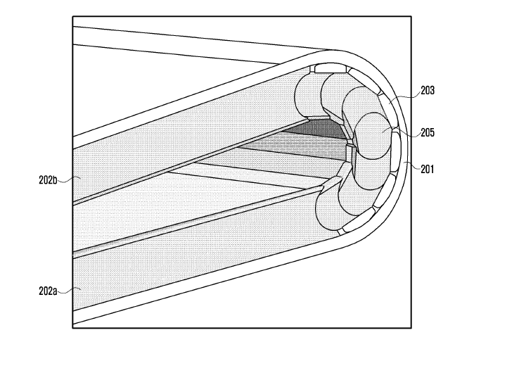
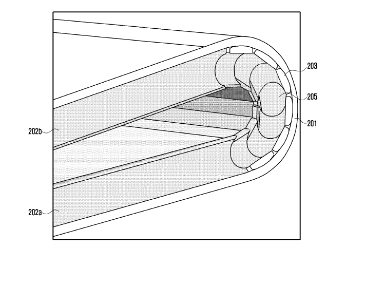
Another fascinating discovery in the patent is that the hinge looks like the one that is used in the Microsoft Surface Book 2. Down to the gap in between the displays when folded.
The foldable smartphone may not reach the market by this year; this patent filing does mean it is one step closer. We are looking forward to innovations such as this to spice up the market and inject new ideas to other manufacturers as well.
(Source: LetsGoDigital )




